商品情報
商品名:アトリエ額受 カラーGB
-
商品詳細案内
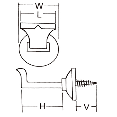
アトリエ額受 カラーGB 一覧 サイズ
L
H
V
W
包装
小箱
ケース
参考価格
商品コード
30
20
30
15
22
箱入
30個
300個
365
06506111
36
22
36
25
450
06506112
45
28
45
22
30
20個
200個
730
06506113
60
38
60
28
40
10個
100個
1,130
06506114
商品情報
新商品
オススメ
現場関連
- 物干金物
- ホスクリーン
- シュート・ポスト口
- ポスト
- 室名札
- 宅配ボックス
- 換気製品
- ヤギリ・軒天
- 点検口
- 床下収納庫
- 掲示板
- 銘板
- 避難ハッチ
- 消火器具
- 屋上マンホール
- タラップ・吊環
- 基礎工法材
- 緩衝材
- パイプ付属金物
- 形材
- ピクチャーレール
- カーテンレール
- ドアハンガー
- ミラー
- 設備資材
- 設備用品
- ひさし
- アルミ建材
- ワイヤー手すり
- スベリ止・点字
- 副資材
エクステリア
建具関連
- ワーロン
- 研磨材
- 引戸錠
- レバー錠
- 取替錠レバー
- 付属金物
- 棚柱
- 丁番
- ラバトリー
- 戸引手・ツマミ
- 取手・ツマミ
- ドア付属金物
- 戸当り
- レール
- Vレール用戸車
- 木製品
- 建具資材
- あかり取り・戸車
- 戸車
- 各種レール
- ドアクローザー
- 額受
- 塗料
ファスナー関連
一般資材・金物
- 高性能テープ
- ニットーテープ
- 養生・防水テープ
- 接養剤
- 滑走剤
- ウレタンフォーム
- 一般資材
- 副資材
- 養生材
- 面木・目地棒
- アルミ梯子・脚立
- テント
- 水切棚・収納
- 棚受
- 補強金物
- 掛金
- フック
- チェーン・パーツ
- 鍵関連資材
- 網戸
- 壁装飾
- 水まわり備品
- その他


